适用范围与用途
BWDC2-300R 交流接触器(以下简称接触器)主要用于 AC-1 使用类别下,交流 50Hz(或 60Hz),额定工作电压为 1140V,额定工作电流为 300A 的交流电路中,供远距离接通与分断电路,控制电阻、无感、微感电器,配电电路。主要应用于充电桩、风电滤波电容器、变频器旁路、软启动器旁路等。
产品图片(仅供参考)
规格型号说明
主要技术参数
正常工作环境
1)储存:-60℃~+80℃;
运行:标准工作温度-5℃~+40℃,标准控制电压下工作最大允许温度范围:-40℃~+60℃,周围空气中无酸性,碱性或其它腐蚀性气体;
2) 耐受气候:类别 B(GB 14048.4 附录 Q),温度范围-40℃~+60℃;
3)安装地点的海拔不超过 3000 米;
4)安装地点的相对湿度在温度为+40℃时,空气的相对湿度不超过 50%,在较低的温度下可以允许有较高的相对湿度,例如 20℃时达 90%,对由于温度变化偶尔产生的凝露应采取特殊的措施。
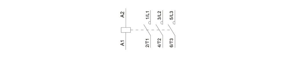
接线图
产品外形及安装尺寸
安装方式
螺栓安装。
包装储存
每台组装好的产品用一个包装箱包装,应贮存在空气通畅,温度不高于+80℃,不低于-60℃的仓库中。周围空气中无酸性,碱性或其它腐蚀性气体的库房里贮存。
附件清单及安装
BWDC2-300R:使用说明书,6 套主回路接线螺栓,1 个接地螺钉,合格证。
注意事项
1)产品应安装在无显著摇动或振动的地方;
2)产品垂直安装,安装面与垂直面的倾斜度不大于±30°。
3)接线螺栓的扭紧力矩为 18N.m,接线必须可靠,防止因接线端出现异常发热造成接线端烧损。
订单描述
如:交流单线圈 220V 接触器 100 只;BWDC2-300R / 220V 50Hz 100 只;
交流双线圈 220V 接触器 100 只;BWDC2-300R / 220V 50-60Hz 100 只;


